预(yù)制直埋PERTⅡ型保温管也称为PE-RTⅡ型供(gòng)热(rè)管,是一种PE-RTⅡ型工(gōng)作管(采用耐(nài)热聚乙烯(PE-RT II)管(guǎn)材)、保温层(采用硬质聚氨酯泡沫塑料)、外护管(采用(yòng)高密度聚乙烯)为一体的工厂(chǎng)预制产品。
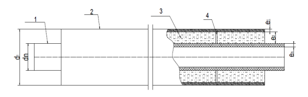
预制直埋PERTⅡ型保温管道结构(gòu)图
1-PERTⅡ型工作管;2-外护管;3-保温层;4-支架
预制直(zhí)埋PE-RTⅡ型保温管
PE-RT II预制直埋保温管(guǎn)应(yīng)用(yòng)领域:
1. 冷热水管(guǎn)道
2. 空气能热泵热(rè)水工(gōng)程、太阳能管道(dào)
3. 城市集中供热二(èr)次官网、温泉水(shuǐ)保温管道
4. 工业建筑管道
PE-RTII型工程案例







